Contact Us
顺辉自控阀门有限公司
咨询电话:0577-67975115
图文传真:0577-67975117
手机:13758735581
联系人:潘经理
E-mail:1906676883@qq.com
地 址:浙江省永嘉县江北街道码道工业区62号.

扫一扫 咨询沟通

详细介绍

阀体
型式:直通单座套筒式铸造球型阀公称通径:25、40、50、65、80、100、150、200mm 公称压力:ANSI 125、150、300、600 JIS 10、16、20、30、40K PN1.6、4.0、6.4MPa 连接型式:法兰连接:FF、RF、RJ、LG、沟槽型、嵌入型法兰标准:JIS B2201-1984、ANSI B16.5-1981、GB/T9112~9124-2000等焊接连接:嵌接焊SW 材料:铸钢(ZG230-450)、铸不锈钢(ZG1Cr18Ni9Ti、ZG1Cr18Ni12Mo2Ti、ZG00Cr18Ni12Mo2Ti)、钛等上阀盖:常温型(P):-17~+230℃ 伸长Ⅰ型(E1):-45~-17℃ +230~+566℃ 伸长Ⅱ型(E2I):-100~-45℃ 伸长Ⅱ型(E2W):-196~-100℃ 注:工作温度不准超过各种材料的允许范围。 压盖型式:螺栓压紧式填料:V型聚四氟乙烯填料、含浸聚四氟乙烯石棉填料、石棉编织填料、石墨填料 阀内组件阀芯型式 单座套筒式柱塞型阀芯流量特性 等百分比特性(%)和线性特性(L),参考流量特性曲线图套筒形式 分离式套筒材料 不锈钢(1Cr18Ni9Ti、1Cr18Ni12Mo2Ti、17-4PH、9Cr18、316L)、不锈钢堆焊司太莱合金、钛和耐腐蚀合金等
电动执行机构
型式:DKZ系列电动执行机构;361L系列电子式电动执行机构;RS系列电动执行机构;PSL系列电子式电动执行机构 输入信号:DKZ执行机构:Ⅱ型0~10mA·DC(输入电阻200Ω);Ⅲ型4~20mA·DC(输入电阻 250Ω) 361L执行机构:4~20mA·DC或1~5V(输入电阻250Ω) RS执行机构:0~10mA·DC、4~20mA·DC PSL执行机构:4~20mA·DC 电源电压 DKZ执行机构:220V,50Hz。 361L执行机构:220V,50/60Hz。 RS执行机构:单相控制220V·AC±5%;三相控制380V±5%。 PSL执行机构:单相控制220V,50Hz 手动机构:DKZ执行机构:手轮;361L执行机构:离合式;RS执行机 构:手轮;PSL执行机构:手轮 环境温度:-20~+60℃ 阀作用型式:电关式或电开式
气动执行机构
型式:LHA多弹簧薄膜执行机构、LVA5单弹簧薄膜执行机构、LVA6单作用气缸动活塞执行机构、LVP双作用气缸活塞执行机构膜片材料:乙丙橡胶夹尼龙布、丁腈橡胶夹尼龙布弹簧范围:20~100、80~240kPa(LHA,LVA5型),190~350、190~400kPa(LVA6型)供气压力:140~400kPa(LHA型)、140~280kPa(LVA5型)400~500kPa(LVA6型)、300~500kPa(LVP型)气源接口:Rc1/4” 环境温度:-30~+70℃ 阀作用型式:用正作用或反作用执行机构实现阀的气-关式或气-开式附件:定位器、空气过滤减压器、保位阀、行程开关、阀位传送器、电磁阀、手轮机构等
性能
泄漏量:金属阀座:小于阀额定容量的0.01%,符合ANSI B16.104-1976IV级回差:带定位器:小于全行程的1%,不带定位器:小于全行程的3%(LHA1型小于全行程的5%)基本误差:带定位器:小于全行程的±1%,不带定位器:小于全行程的±5% 注:采用标准的V型聚四氟乙烯填料 可调范围:50:1(0.25≤Cv≤14)或30:1(CV≤0.16)
Cv值和行程
| 公称通径 | 40 | 50 | 65 | 80 | 100 | 150 | 200 | ||||||||||||||
| 阀座直径 | CV= 4.0 | CV= 6.3 | 25 | CV= 6.3 | 25 | 32 | 25 | 32 | 40 | 32 | 40 | 50 | 40 | 50 | 65 | 65 | 80 | 100 | 80 | 100 | 125 |
| 额定Cv值 | 4.0 | 6.3 | 12 | 6.3 | 12 | 21 | 12 | 21 | 30 | 21 | 30 | 50 | 30 | 50 | 85 | 85 | 125 | 200 | 125 | 200 | 310 |
| 额定行程(mm) | 25 | 38 | 50 | 75 | |||||||||||||||||
流量特性
法兰距 mm
| 公称通径 | A | |||||||
| ANSI 125FF、PN1.6 ANSI 150 RF JIS 10K FF,RF | JIS 16K RF | ANSI 300RF JIS20、30KRF JIS 30K RF | JIS 600 RF JIS 40K RF PN6.4 | JIS 16K 沟槽型 嵌入型 | JIS 20K 沟槽型 嵌入型 | JIS 30K 沟槽型 嵌入型 | JIS 40K 沟槽型 嵌入型 | |
| 40 | 222 | 231 | 235 | 251 | 235 | 236 | 248 | 251 |
| 50 | 254 | 263 | 267 | 286 | 265 | 267 | 276 | 286 |
| 65 | 276 | 288 | 292 | 311 | 290 | 292 | 303 | 311 |
| 80 | 298 | 313 | 317 | 337 | 310 | 317 | 326 | 337 |
| 100 | 352 | 364 | 368 | 394 | 360 | 368 | 379 | 394 |
| 150 | 451 | 465 | 473 | 508 | 475 | 473 | 486 | 508 |
| 200 | 543 | 560 | 568 | 610 | 570 | 568 | 580 | 610 |
| 公称通径 | A | ||||||
| ANSI 150 RJ | ANSI 300 RJ | ANSI 600 RJ | ANSI 300 LG | ANSI 600 LG | ANSI 150 SW、BW | ANSI 150、600 SW、BW | |
| 40 | 235 | 248 | 251 | 244 | 248 | 251 | 251 |
| 50 | 267 | 283 | 289 | 276 | 283 | 286 | 286 |
| 65 | 289 | 308 | 314 | 302 | 308 | 311 | 311 |
| 80 | 311 | 333 | 340 | 327 | 333 | 337 | 337 |
| 100 | 365 | 384 | 397 | 378 | 391 | 394 | 394 |
| 150 | 464 | 489 | 511 | 483 | 505 | 473 | 508 |
| 200 | 556 | 584 | 613 | 578 | 606 | 568 | 610 |
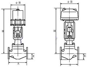
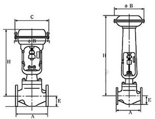
法兰距及外形尺寸
|
|
|||||
|
||||||
| 公称 通径 | 执行机构 | H | C | φB | E | |||
| 常温型(P) | 伸长Ⅰ型(E1) | 伸长Ⅱ型(E2I) | 伸长Ⅱ型(E2W) | |||||
| 40 | LHA1D、R | 425 | 590 | 705 | 945 | 230 | 218 | 70 |
| LHA2D、R | 500 | 665 | 780 | 1020 | 281 | 267 | ||
| LHA3D、R | 590 | 760 | 875 | 1140 | 363 | 350 | ||
| 50 | LHA1D、R | 425 | 595 | 710 | 950 | 230 | 218 | 80 |
| LHA2D、R | 500 | 670 | 785 | 1025 | 281 | 267 | ||
| LHA3D、R | 595 | 765 | 875 | 1140 | 363 | 350 | ||
| 65 | LHA2D、R | 575 | 745/755 | 880 | 1130 | 281 | 267 | 88 |
| LHA3D、R | 630 | 800/810 | 930 | 1180 | 363 | 350 | ||
| LHA4D、R | 865 | 1035/1045 | 1165 | 1495 | 520 | 470 | ||
| 80 | LHA2D、R | 580 | 755/765 | 900 | 1135 | 281 | 267 | 98 |
| LHA3D、R | 635 | 810/820 | 955 | 1190 | 363 | 350 | ||
| LHA4D、R | 870 | 1045/1055 | 1190 | 1505 | 520 | 470 | ||
| 100 | LHA2D、R | 610 | 810/870 | 915 | 1150 | 281 | 267 | 113 |
| LHA3D、R | 660 | 860/870 | 1020 | 1205 | 363 | 350 | ||
| LHA4D、R | 890 | 1100/1110 | 1255 | 1520 | 520 | 470 | ||
| LVA5D | 1300 | 1515 | 1710 | 1940 | - | 620 | ||
| LVA5R | 1420 | 1635 | 1820 | 2050 | - | 620 | ||
| LVA6R | 1160 | 1375 | 1560 | 1790 | - | 445 | ||
| LVP5 | 940 | 1155 | 1340 | 1570 | - | 345 | ||
| 150 | LHA3D、R | 785 | 1020/1045 | 1250 | 1385 | 363 | 350 | 170 |
| LHA4D、R | 955 | 1190/1215 | 1425 | 1570 | 520 | 470 | ||
| LVA5D | 1360 | 1620 | 1870 | 2000 | - | 620 | ||
| LVA5R | 1480 | 1740 | 1980 | 2110 | - | 620 | ||
| LVA6R | 1220 | 1480 | 1720 | 1850 | - | 445 | ||
| LVP5 | 1000 | 1260 | 1500 | 1630 | - | 345 | ||
| LVP6 | 1210 | 1470 | 1710 | 1840 | - | 445 | ||
| LVP7 | 1290 | 1550 | 1790 | 1920 | - | 545 | ||
| 200 | LHA4D、R | 1090 | 1350 | 1580 | 1710 | 520 | 470 | 220 |
| LVA5D | 1475 | 1740 | 2025 | 2155 | - | 620 | ||
| LVA5R | 1585 | 1850 | 2145 | 2275 | - | 620 | ||
| LVP5 | 1165 | 1425 | 1665 | 1795 | - | 345 | ||
| LVP6 | 1375 | 1635 | 1875 | 2005 | - | 445 | ||
| LVP7 | 1455 | 1715 | 1955 | 2085 | - | 545 | ||