Contact Us
顺辉自控阀门有限公司
咨询电话:0577-67975115
图文传真:0577-67975117
手机:13758735581
联系人:潘经理
E-mail:1906676883@qq.com
地 址:浙江省永嘉县江北街道码道工业区62号.

扫一扫 咨询沟通

详细介绍

阀体
型式:单座铸造球型阀公称通径:25、40、50、80mm 公称压力:ANSI 900、1500、2500 JIS 63K 连接型式:法兰连接:RF、RJ 法兰标准:JIS B2201-1984、ANSI B16.5-1981等焊接连接:嵌接焊SW(25~80mm)对接焊BW(80mm) 材料:碳钢(ZG230-450)、CrMo钢、不锈钢(ZG1Cr18Ni9Ti、ZG1Cr18Ni12Mo2Ti、ZG00Cr18Ni12Mo2Ti)等上阀盖:常温型(P):-5~+230℃ 伸长Ⅰ型(E1): +230~+566℃ 注:工作温度不准超过各种材料的允许范围。压盖型式:螺栓压紧式填料:V型聚四氟乙烯填料、含浸聚四氟乙烯石棉填料、石棉编织填料、石墨填料 阀内组件 阀芯型式:单座柱塞型阀芯流量特性:等百分比特性(%)和线性特性(L),参考图1 材料:不锈钢(1Cr18Ni9Ti、1Cr18Ni12Mo2Ti、17-4PH、9Cr18、316L)、不锈钢堆焊司太莱合金等
电动执行机构
型式:DKZ系列电动执行机构;361L系列电子式电动执行机构;RS系列电动执行机构;PSL系列电子式电动执行机构 输入信号:DKZ执行机构:Ⅱ型0~10mA·DC(输入电阻200Ω);Ⅲ型4~20mA·DC(输入电阻 250Ω) 361L执行机构:4~20mA·DC或1~5V(输入电阻250Ω) RS执行机构:0~10mA·DC、4~20mA·DC PSL执行机构:4~20mA·DC 电源电压 DKZ执行机构:220V,50Hz。 361L执行机构:220V,50/60Hz。 RS执行机构:单相控制220V·AC±5%;三相控制380V±5%。 PSL执行机构:单相控制220V,50Hz 手动机构:DKZ执行机构:手轮;361L执行机构:离合式;RS执行机 构:手轮;PSL执行机构:手轮 环境温度:-20~+60℃ 阀作用型式:电关式或电开式
气动执行机构
型式:LHA多弹簧薄膜执行机构、LVA5单弹簧薄膜执行机构、LVA6单作用气缸动活塞执行机构、LVP双作用气缸活塞执行机构膜片材料:乙丙橡胶夹尼龙布、丁腈橡胶夹尼龙布弹簧范围:20~100、80~240kPa(LHA,LVA5型),190~350、190~400kPa(LVA6型)供气压力:140~400kPa(LHA型)、140~280kPa(LVA5型)400~500kPa(LVA6型)、300~500kPa(LVP型)气源接口:Rc1/4” 环境温度:-30~+70℃ 阀作用型式:用正作用或反作用执行机构实现阀的气-关式或气-开式附件:定位器、空气过滤减压器、保位阀、行程开关、阀位传送器、电磁阀、手轮机构等
性能
泄漏量:金属阀座:小于阀额定容量的0.01%,符合ANSI B16.104IV级 回差:带定位器:小于全行程的1%, 基本误差:带定位器:小于全行程的±1%, (注:采用标准的V型聚四氟乙烯填料) 可调范围: 50:1
Cv值和行程
| 公称通径 | 25 | 40 | 50 | 80 | ||||||||||||||||
| 阀座直径 | 25 | 32 | 40 | 32 | 40 | 50 | 50 | 65 | 80 | |||||||||||
| 额定Cv值 | 等百分比(%)线性(L) | JIS63K ANSI 900 ANSI 1500 | 0.25 | 0.4 | 0.63 | 1.0 | 1.6 | 2.5 | 4.0 | 6.3 | 12 | 12 | 17 | 25 | 17 | 25 | 47 | 47 | 75 | 110 |
| ANSI 2500 | - | 12 | 17 | 12 | 17 | 31 | 31 | 47 | 75 | |||||||||||
| 额定行程(mm) | 14.3 | 25 | 38 | |||||||||||||||||
流量特性
典型的流量特性曲线
| 等百分比特性(%) | 线性特性(L) |
| 公称通径 | A | ||||||
| JIS63K | ANSI 900 | ANSI 1500 | ANSI 2500 | ||||
| RF | RF(SW,BW) | RJ | RF(SW,BW) | RJ | RF(SW,BW) | RJ | |
| 25 | 276 | 292 | 292 | 292 | 292 | 318 | 318 |
| 40 | 323 | 333 | 333 | 333 | 333 | 358 | 361 |
| 50 | 354 | 375 | 378 | 375 | 378 | 400 | 403 |
| 80 | 431 | 440 | 443 | 460 | 463 | 498 | 504 |
|
||||||

LHA执行器 LVA5执行器 LVA6执行器 LVP执行器
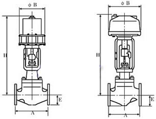
| 公称通径 | 执行机构 | H | E | C | φB | |||||||
| ANSI900 JIS 63K | ANSI 1500 | ANSI 2500 | ANSI 900 | ANSI 1500 | ANSI 2500 | |||||||
| 常温型(P) | 伸长型(E1) | 常温型(P) | 伸长型(E1) | 常温型(P) | 伸长型(E1) | |||||||
| 25 | LHA3D、R | 710 | 840 | 710 | 840 | 740 | 860 | 90 | 90 | 95 | 363 | 350 |
| LHA4D、R | 870 | 1000 | 870 | 1000 | 900 | 1020 | 520 | 470 | ||||
| LVA6R | 1115 | 1245 | 1115 | 1245 | 1145 | 1265 | - | 445 | ||||
| LVP5 | 895 | 1025 | 895 | 1025 | 925 | 1045 | - | 345 | ||||
| 40 | LHA3D、R | 735 | 875 | 735 | 875 | 780 | 925 | 100 | 105 | 120 | 363 | 350 |
| LHA4D、R | 890 | 1030 | 890 | 1030 | 935 | 1080 | 520 | 470 | ||||
| LVA5D | 1280 | 1420 | 1280 | 1420 | 1325 | 1470 | - | 620 | ||||
| LVA5R | 1390 | 1530 | 1390 | 1530 | 1435 | 1580 | - | 620 | ||||
| LVA6R | 1140 | 1280 | 1140 | 1280 | 1185 | 1350 | - | 445 | ||||
| LVP5 | 920 | 1060 | 920 | 1060 | 965 | 1110 | - | 345 | ||||
| LVP6 | 1140 | 1280 | 1140 | 1280 | 1185 | 1380 | - | 445 | ||||
| 50 | LHA3D、R | 765 | 925 | 765 | 925 | 800 | 960 | 110 | 120 | 130 | 363 | 350 |
| LHA4D、R | 925 | 1085 | 925 | 1085 | 960 | 1120 | 520 | 470 | ||||
| LVA5D | 1315 | 1475 | 1315 | 1475 | 1350 | 1510 | - | 620 | ||||
| LVA5R | 1425 | 1585 | 1425 | 1585 | 1460 | 1620 | - | 620 | ||||
| LVA6R | 1175 | 1335 | 1175 | 1335 | 1210 | 1370 | - | 445 | ||||
| LVP5 | 955 | 1115 | 955 | 1115 | 990 | 1150 | - | 345 | ||||
| LVP6 | 1175 | 1335 | 1175 | 1335 | 1210 | 1370 | - | 445 | ||||
| LVP7 | 1270 | 1420 | 1270 | 1420 | 1305 | 1465 | - | 545 | ||||
| 80 | LHA3D、R | 80 | 980 | 800 | 980 | 835 | 1005 | 140 | 150 | 165 | 363 | 350 |
| LHA4D、R | 960 | 1140 | 960 | 1140 | 995 | 1165 | 520 | 470 | ||||
| LVA5D | 1345 | 1525 | 1345 | 1525 | 1380 | 1550 | - | 620 | ||||
| LVA5R | 1455 | 1635 | 1455 | 1635 | 1490 | 1660 | - | 620 | ||||
| LVA6R | 1205 | 1385 | 1205 | 1385 | 1240 | 1410 | - | 445 | ||||
| LVP5 | 985 | 1165 | 985 | 1165 | 1020 | 1190 | - | 345 | ||||
| LVP6 | 1205 | 11385 | 1205 | 1385 | 1240 | 1410 | - | 445 | ||||
| LVP7 | 1295 | 1475 | 1295 | 1475 | 1330 | 1500 | - | 545 | ||||
| 公称 通径 | 执行机构 | 法兰连接 | 焊接连接 | ||||||||||
| ANSI 900 JIS63K | ANSI 150 | ANSI 2500 | ANSI 900 JIS63K | ANSI 150 | ANSI 2500 | ||||||||
| 常温型 (P) | 伸长型 (E1) | 常温型 (P) | 伸长型(E1) | 常温型 (P) | 伸长型 (E1) | 常温型 (P) | 伸长型 (E1) | 常温型 (P) | 伸长型 (E1) | 常温型 (P) | 伸长型 (E1) | ||
| 25 | LHA3D、R | 55 | 60 | 60 | 65 | 85 | 90 | 45 | 50 | 50 | 55 | 70 | 75 |
| LHA4D、R | 85 | 90 | 90 | 95 | 115 | 120 | 80 | 85 | 85 | 90 | 100 | 105 | |
| LVA6R | 230 | 235 | 230 | 235 | 255 | 260 | 220 | 225 | 225 | 230 | 240 | 245 | |
| LVP5 | 105 | 110 | 105 | 110 | 130 | 135 | 95 | 100 | 100 | 105 | 115 | 120 | |
| 40 | LHA3D、R | 60 | 65 | 65 | 70 | 90 | 95 | 50 | 55 | 55 | 60 | 75 | 80 |
| LHA4D、R | 90 | 95 | 95 | 100 | 125 | 130 | 80 | 85 | 85 | 90 | 105 | 110 | |
| LVA5D | 190 | 195 | 195 | 200 | 225 | 230 | 180 | 185 | 185 | 190 | 205 | 210 | |
| LVA5R | 215 | 220 | 220 | 225 | 250 | 255 | 205 | 210 | 210 | 215 | 230 | 235 | |
| LVA6R | 230 | 235 | 235 | 240 | 265 | 270 | 220 | 225 | 225 | 230 | 245 | 250 | |
| LVP5 | 105 | 110 | 110 | 115 | 140 | 145 | 95 | 100 | 100 | 105 | 120 | 125 | |
| LVP6 | 180 | 185 | 185 | 190 | 215 | 220 | 170 | 175 | 175 | 180 | 195 | 200 | |
| 50 | LHA3D、R | 90 | 80 | 75 | 85 | 110 | 120 | 55 | 65 | 60 | 70 | 85 | 95 |
| LHA4D、R | 100 | 110 | 105 | 115 | 140 | 150 | 85 | 95 | 90 | 100 | 115 | 125 | |
| LVA5D | 200 | 210 | 205 | 215 | 240 | 250 | 185 | 195 | 190 | 200 | 215 | 225 | |
| LVA5R | 225 | 235 | 230 | 240 | 265 | 275 | 210 | 220 | 215 | 225 | 240 | 250 | |
| LVA6R | 240 | 250 | 245 | 255 | 280 | 290 | 225 | 235 | 230 | 240 | 255 | 265 | |
| LVP5 | 115 | 125 | 120 | 130 | 155 | 165 | 100 | 110 | 105 | 115 | 130 | 140 | |
| LVP6 | 190 | 200 | 195 | 205 | 230 | 240 | 175 | 185 | 180 | 190 | 205 | 215 | |
| LVP7 | 300 | 310 | 305 | 315 | 340 | 350 | 285 | 295 | 290 | 300 | 315 | 325 | |
| 80 | LHA3D、R | 105 | 115 | 140 | 160 | 225 | 245 | 85 | 95 | 110 | 130 | 170 | 190 |
| LHA4D、R | 135 | 145 | 170 | 190 | 255 | 275 | 115 | 125 | 140 | 160 | 200 | 220 | |
| LVA5D | 235 | 245 | 270 | 290 | 355 | 375 | 215 | 225 | 240 | 260 | 300 | 320 | |
| LVA5R | 260 | 270 | 295 | 315 | 380 | 400 | 240 | 250 | 265 | 285 | 325 | 345 | |
| LVA6R | 275 | 285 | 310 | 330 | 395 | 415 | 255 | 265 | 280 | 300 | 340 | 360 | |
| LVP5 | 150 | 160 | 185 | 205 | 270 | 290 | 130 | 140 | 155 | 175 | 215 | 235 | |
| LVP6 | 225 | 235 | 260 | 280 | 345 | 365 | 205 | 215 | 230 | 250 | 290 | 310 | |
| LVP7 | 335 | 345 | 370 | 390 | 455 | 475 | 315 | 325 | 340 | 360 | 400 | 420 | |